科技壕消息,据外媒windowslatest报道,USPTO(美国专利及商标局)在近日公布了一项微软于2018年下半年提交的专利,该专利中的设备极有可能会是搭载了特殊“太阳能电池板”的Surface Pro产品。

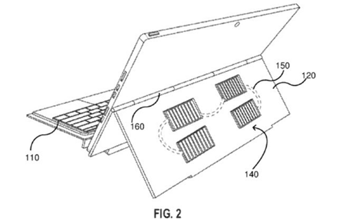
这项专利名为“带有集成太阳能电池板的移动设备保护套”,在专利图中可以看到一款类似微软Surface Pro的产品,而专利中的保护套则是类似于Surface Pro的支架和集成键盘的套件。在支架的背部,有四个明显的太阳能电池板,应该是可以通过太阳光为设备充电。

微软表示,只需要将带有这个保护套的设备放置在光源附近,不管是太阳光还是人造光,都可以为设备充电,也就是说,阴天或是室内也同样可以为其充电。微软这项专利的设计主要在于,由于是将太阳能电池板集成在转轴支架上的,所以用户可以更自由的调节电池板的角度,使其能够最大得接收到太阳光照射。

当然,目前这个设计还仅仅停留在专利阶段,之后是否会实际用到产品中还不确定,但是从微软2018年就提交了这项专利来看,他们应该一直都有考虑和研究太阳能充电的技术,期待未来的Surface Pro 8上能够见到这项技术的实现。