
例如,苹果曾高调宣布,iPhone 7和iPhone 7 Plus是第一款具有IP67防水和防尘能力的产品。而iPhone XS的防水能力则提升到IP68,预计今年即将发布的新iPhone将保持这一水平。

虽然苹果正在研发新的方法来阻止水和灰尘进入其移动设备,但最简单的方法还是减少入口点的数量,这意味着需要通过移除端口和其他开孔来密封机身。除了扬声器和麦克风所需的孔外,iPhone还配备了Lightning端口。
Lightning端口主要有两大功能,可用于为iPhone充电,也可用于连接电脑来传送数据。在充电方面,可以利用无线充电来取代。但物理数据连接却不容易被取代,因此很难彻底移除该端口。
但根据苹果今日提交的专利申请显示,这项新技术可能为将来的iPhone取消Lightning接口铺平道路,即无需物理端口也能进行数据传输。
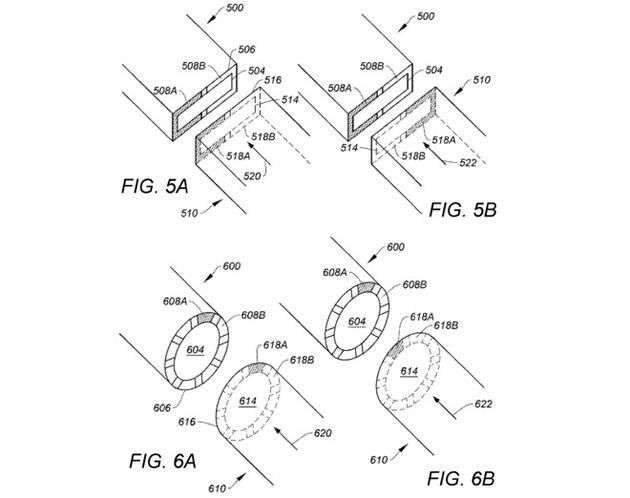
在专利申请文件中,苹果公开了一种波导结构,允许设备确定其方向。波导可以由介质芯和包层形成,电介质芯可以由固体介电材料形成,所述固体介质材料以毫米波频率及以上的频率传导无线电波。通过引导毫米波,就能以比通常使用导电导线的传输速率更高的速度传输数据。
为了使波导能够正常工作,必须将波导放置在与其传输方向相匹配的位置上,并对其进行排列以正确地发送到接收设备。为了解决这一问题,苹果建议,这种波导可以由一种能够传导无线电波的固体介电材料的核心制造,周围有一个包层,其中包括可以传输电信号的导电部分。导电部分和电信号只是用来确定波导到接收或发送设备的方向,而不是用户大规模的数据传输。
通过使用导电部分来确定波导的一端是如何连接的,而另一端可以改变它通过波导传输的方式。虽然这对于方形波导电缆来说可能很简单,但这也意味着该系统可以有效地工作在圆形电缆上。为了便于校准,还可以使用磁铁将电缆固定到位,并确保用户首先正确放置电缆。