从iPhone 6开始,iPhone的摄像头就开始开启“凸”起来。一方面,这是手机便携的形态所决定的,另一方面凸起的摄像头是不妥协厚度情况下的最优解,但在那些追求“纯平设计”的手机爱好者眼中,这个“凸”的摄像头成为影响手机美感度的一大“拦路虎”。
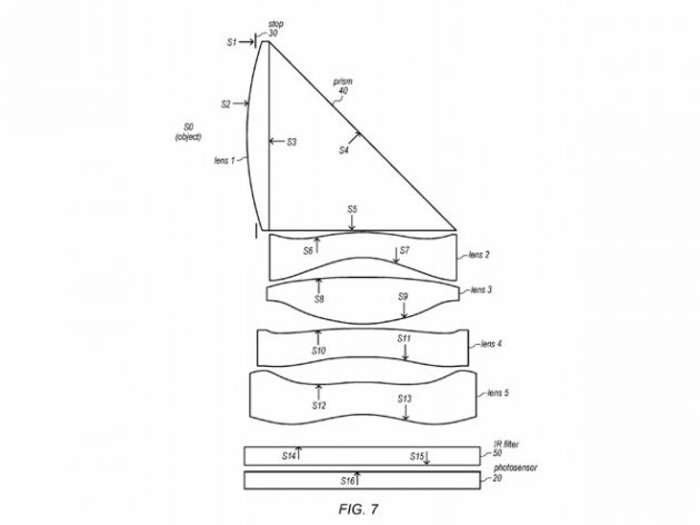
而最近披露的一项苹果专利显示,未来iPhone的镜头模块可能将不再凸起。美国专利商标局在本周二展示了一项名为“具有五个折射镜的折叠透镜系统”和“具有三个折射镜的折叠透镜系统”的专利,其主要是将镜头模组由传统的“横向”转换为“竖向”,并通过棱镜来反射图像,从而减少镜头的凸起程度。

“具有五个折射镜的折叠透镜系统”和“具有三个折射镜的折叠透镜系统”所使用的镜片数量有所不同,其中前者可以提供等效35mm的焦距,范围在50-85mm,视野范围在28°-41°之间,因此主要用于广角镜头,而“三折射镜系统”则提供等效35mm的80-2000mm焦距范围,视野范围在17.8°-28.5°之间,主要用于长焦镜头。
虽然苹果每周都会披露大量专利文件,这些专利显示了苹果的研究和开发方向,但并不能保证这些专利会被应用在产品当中。