还有啥是谷歌不能做的呢?
在智能家居的概念下,越来越多的互联网公司开始涉足家电领域,谷歌便是其中之一。
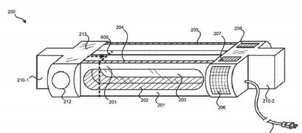
谷歌最新为Google Home项目中的一款全新智能空调产品申请了专利,其想法十分独特。
谷歌所发明的这种空调类似上世纪流行的“窗机”,直接安装在窗户上,省去了室外机的繁琐和笨重。而且,谷歌的这款空调提醒更加小巧,还不会影响到窗户的开关。
据介绍,谷歌空调利用了空气热转换原理设计,没有扇叶、不使用制冷剂,完全通过空气中热量的交换来实现降温。同时兼顾节能、环保和静音的效果。
遗憾的是,这款概念超前的空调还只是在设计阶段,而谷歌也没有公开更多的技术细节。



